首页
学院概况
学院简介
专业简介
机构设置
党建工作
党总支简介
机构组成
党建成果
管理规章
师资队伍
人才培养
学生工作
团委工作
信息公示
学生风采
实习实训基地
招生就业
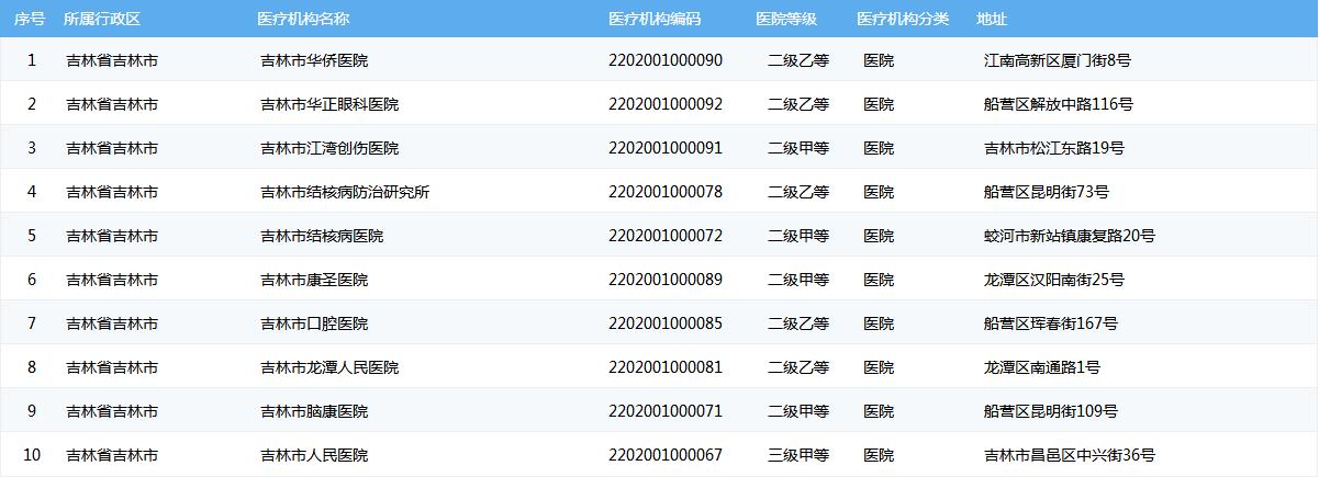
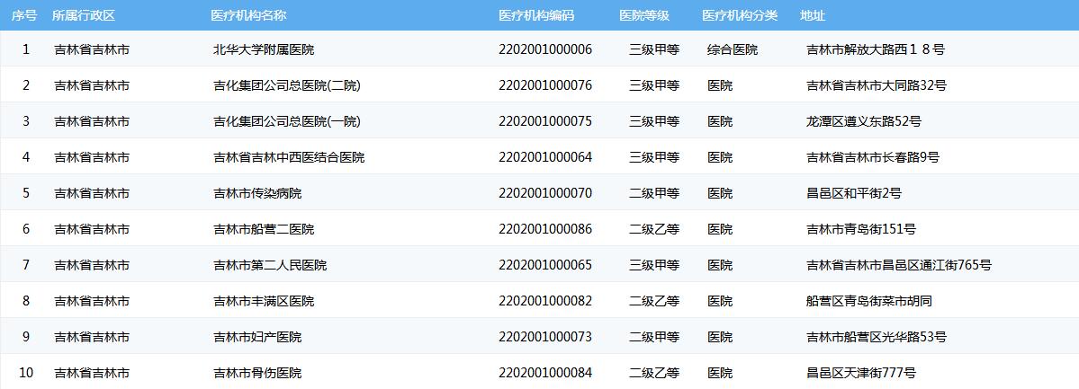
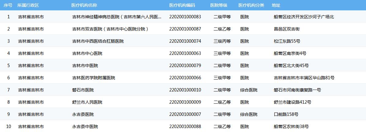
吉林市医保定点医院
发布于2021年05月03日 19:17
作者:
浏览次数:
全国各省定点医院查询网址:http://si.12333.gov.cn/index.jhtml
【关闭当前页】